河南造价员考试《建筑计价与基础案例分析》培训02
土石方工程案例
1.如下图所示,底宽1.2m,挖深1.6m,土质为三类土,求人工挖地槽两侧边坡各放宽多少?
【解】已知:K=0.33,h=1.6m,则:每边放坡宽度b=1.6×0.33m=0.53m
地槽底宽1.2m,放坡后上口宽度为:(1.2+0.53×2)m=2.26m
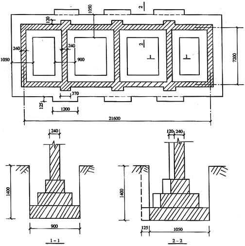
2.某地槽开挖如下图所示,不放坡,不设工作面,三类土。试计算其综合基价。
【解】外墙地槽工程量=1.05×1.4×(21.6+7.2)×2m3=84.67m3
内墙地槽工程量=0.9×1.4×(7.2-1.05)×3m3=23.25m3
附垛地槽工程量=0.125×1.4×1.2×6m2=1.26m3
合计=(84.67+23.25+1.26)m3=109.18m3
套定额子目1-331453.23/100m2×767.16=11148.60(元)
挖地槽适用于建筑物的条形基础、埋设地下水管的沟槽,通讯线缆及排水沟等的挖土工
程。挖土方和挖地坑是底面积大小的区别,它们适用建造地下室、满堂基础、独立基础、设备基础等挖土工程。
责编:lyz




