根据近几年一级注册消防工程师报考条件要求:报考一级消防工程师考试须同时满足学历、专业、工作年限以及从事消防安全技术工作年限。
目前,任何专业均可报考一级消防工程师考试,只要学历和工作年限符合即可。
一级消防工程师报考专业分为三大类,分别是消防工程专业、消防工程相关专业、以及其他专业;不同类型的专业,工作年限要求不同。
其中,消防工程专业为独立的一个专业,消防工程相关专业包括多个专业,其他专业为消防工程专业和消防工程相关专业之外的所有专业。
具体各学历 、专业及相应的工作年限要求如下:

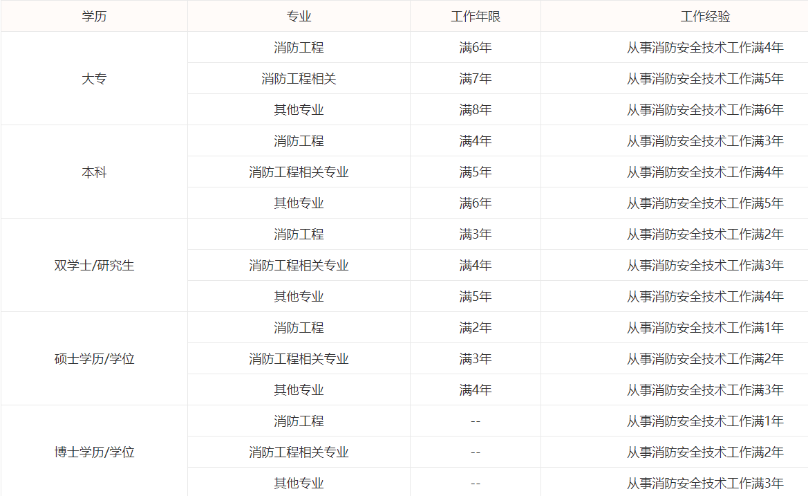
根据近几年一级注册消防工程师报考条件要求:报考一级消防工程师考试须同时满足学历、专业、工作年限以及从事消防安全技术工作年限。
目前,任何专业均可报考一级消防工程师考试,只要学历和工作年限符合即可。
一级消防工程师报考专业分为三大类,分别是消防工程专业、消防工程相关专业、以及其他专业;不同类型的专业,工作年限要求不同。
其中,消防工程专业为独立的一个专业,消防工程相关专业包括多个专业,其他专业为消防工程专业和消防工程相关专业之外的所有专业。
具体各学历 、专业及相应的工作年限要求如下:

责编:liyan
提醒订阅:更多关于一级消防工程师考试相关信息、干货资料、串联总结,长按识别下方二维码【下载233网校APP】获取!

热点:一级消防工程师新手指南|真题答案解析|消防工程师试题库
233网校一级注册消防工程师招生已经开始!想要有效备战2020年一级消防工程师考试,融会贯通3科知识点,赶紧加入我们零基础全科通关计划,高端班专享纸质版3科《教材精讲班》课程讲义+三合一班+规范班+考前内部资料,点击了解>>
拒绝盲目备考,加学习群领资料共同进步!

免费听
黄明峰
封“神”级老师
主讲:消防安全技术综合能力,消防安全技术实务,消防安全技术综合能力,消防安全案例分析,安全生产技术基础,建设工程项目管理
主要从事一级消防工程师、中级安全工程师等考试培训。

免费听
程一波
直播女神
主讲:消防安全技术综合能力,消防安全技术实务,消防安全技术综合能力
吉林大学建筑工程技术专业,一级消防工程师,消防安全与管理项目相关负责人。

免费听
侯跃
主讲:消防安全案例分析,消防安全案例分析,基础知识,中级技能,中级实操
国家一级注册消防工程师、一级注册建造师,富有现场施工经验,授课风格化繁为简、深入浅出、通俗易懂!

免费听
黄明峰
封“神”级老师
主讲:消防安全技术综合能力,消防安全技术实务,消防安全技术综合能力,消防安全案例分析,安全生产技术基础,建设工程项目管理
主要从事一级消防工程师、中级安全工程师等考试培训。
专业智能,高效提分
章节练习
章节专项突破
进入做题
精选试题
省时高效精选
进入做题
模拟考场
海量题免费做
进入做题
考前点题
高效锁分72小时
进入做题
每日一练
每天进步一点点
进入做题
历年真题
真题实战演练
进入做题
易错题
精选高频易错题
进入做题
模考大赛
同场闯关做题
进入做题
APP刷题神器
模考大赛
考点打卡
做题闯关

扫描二维码 下载233网校APP刷题
微信扫码关注公众号
获取更多考试资料