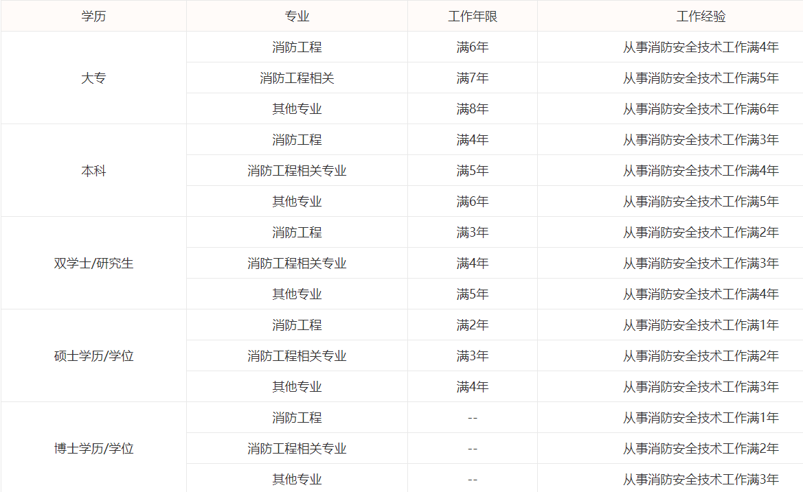
一级消防工程师资格考试报考人员最低学历要求为大学专科;
关于专业:
考虑到消防工程专业及相关专业与消防工作的紧密联系性,并结合消防专业技术工作的特点和要求,将报考人员的专业背景分为“消防工程专业”、“消防工程相关专业”和“其他专业”三类。
关于工作年限/经验:
对于不同专业背景的考生,在工作年限和从事消防安全技术工作年限上做了一定的要求,对“消防工程专业”、“消防工程相关专业”和“其他专业”工作年限和从事消防安全技术工作年限依次递增。一般来说,全日制学历只能从毕业后开始计算工作年限(实习期不能计算在内); 非全日制学历,如:自考、成考、函授等,工作年限则可以累加计算。
一级消防工程师报考条件:

【点击下图查询是否符合报考条件】





























