大学本科是产品设计专业,毕业以后在消防设计院工作,可以报考消防师证吗?工作多久可以报考?
考虑到消防工程专业及相关专业与消防工作的紧密联系性,并结合消防专业技术工作的特点和要求,将报考人员的专业背景分为“消防工程专业”、“消防工程相关专业”和“其他专业”三类。
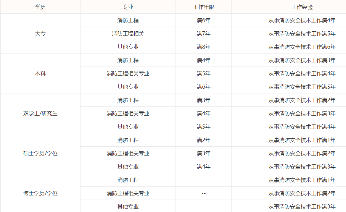
产品设计专业属于其他专业类。根据一级消防工程师报考条件要求,取得消防工程专业大学本科学历或者学位,工作满4年,其中从事消防安全技术工作满3年;或者取得消防工程相关专业大学本科学历,工作满5年,其中从事消防安全技术工作满4年。取得其他专业相应学历或者学位的人员,其工作年限和从事消防安全技术工作年限均相应增加1年。即工作满6年,其中从事消防安全技术工作满5年。
不同学历、专业,一级消防工程师工作年限要求如下:

【点击下图查询是否符合报考条件】





























