法学专业可以报名参加一级消防工程师考试吗?
根据近几年一级注册消防工程师报考条件,目前,任何专业均可报考一级消防工程师考试,只要学历和工作年限符合即可。
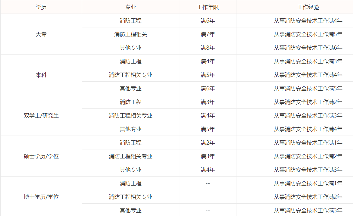
一级消防工程师报考专业分为三大类,分别是消防工程专业、消防工程相关专业、以及其他专业;不同类型的专业,工作年限要求不同。
其中,消防工程专业为独立的一个专业,消防工程相关专业包括多个专业,其他专业为消防工程专业和消防工程相关专业之外的所有专业。
法学专业属于其他专业类,不同学历,对于工作年限的要求不一样,详情如下:

【点击下图查询是否符合报考条件】





























